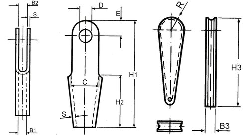
Wedge Socket for Lifts

Symmetrical Wedge Socket for stranded steel wire ropes according to EN 12385-5 for lifts.

Show more

Part code:

Symmetrical Wedge Socket for stranded steel wire ropes according to EN 12385-5 for lifts.

  • Marking: According to standard
  • Temperature range: -20°C up to +100°C
  • Finish: Galvanized
  • Standard: EN 13411-7
    DIN 15315 replaced by EN 13411-7
  • Warning: Tensile strength should not exceed 1770 N/mm2